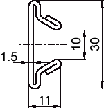
Standard guide rail

Material

SUS304
Length 3m
  • It is not recommended to use in wet environment.